气力输送已被广泛应用于现代工业中的散料输送,特别是火电厂的粉煤灰输送。气力输送粉体物料系统的阀门早期还采用原来适用于单相流体输送系统(气相、液相)的阀门,这类阀门缺乏针对气固两相恶劣工况的针对性设计,在功能和耐用性指标上还不能满足实际要求。
而燃煤电厂粉煤灰输送属于气固两相流动范畴。气体与固粒在输送管内的运动,涉及到气流速度的分布以及固粒与管壁摩擦等各种条件,情况复杂,对输送系统部件磨损大。而阀门是气力输送系统的关键设备,因此阀的性能对气力输送系统的输送效率及其能否正常运行具有重大影响和决定性作用,阀门问题是引起现有气力输送系统存在问题的主要原因之一。大型燃煤电厂粉煤灰气力输送速度高、粉尘浓度高、物料对系统的磨损性,特别容易引起阀门的磨损,造成阀门开关性能降低,甚至失效。
设计一种圆顶阀,既满足了恶劣工况下的气固两相粉煤灰气力输送需要,又能有效的减少关键部件的磨损,延长有效使用寿命,同时便于阀门的维护、降低维护成本,是一项重要而有价值的工作,产生了巨大的经济与社会效益。本项目的实施,一定程度上改变了目前大机组气力输送系统采用进口阀门的状况,同时大大降低电厂的维护成本和维护工作量,进一步提高气力输送系统的可靠性。
1 主要技术创新点
1)面向气固两相流输送过程的阀门流道设计气力输送是利用气流在管道中输送物料的一种方法,利用具有一定压力和一定速度的气流,来输送粉体物料,粉煤灰气力输送属于气固两相流动范畴。粉煤灰气固两相流会对输送管道设备产生强烈的磨损作用,磨损较大的地方多在一些流道复杂且突然改变方向的地方。本项目研究阶段,首先采用数学建模方法,对不同流道和尺寸的阀门,其内部气固二相流动的流动状态和对阀体的磨损情况进行定量评估,进而运用数值计算的手段,研究气力输送系统中阀内的流场分布规律和颗粒运动轨迹,模拟阀门附近处的气固两相流动及阀门位置在不同流道和尺寸下的磨损情况,从而为流道结构和尺寸设计提供重要参考。
2)面向低成本维护过程的阀芯结构设计市场调研和试验过程中发现,由于系统及阀门结构的原因,阀门损坏主要部件为半球阀芯和密封圈,原有阀门结构,在上述部件损坏的情况下,则需将整套阀门拆卸,更换整个阀芯组件。这样一来,增加了用户的维护成本和维修工作量,而且该维护过程中需要较高的专业水平。为改变情况,对阀门的主要零部件进行改进,将阀芯制成阀芯上体和阀芯下体两部分,二者采用螺栓拆卸式连接。当阀芯的圆顶球面被高速固体物料流冲刷磨损需更换时,只需打开原有的上法兰,松开连接螺栓即能将阀芯上体分离出来,换上新的阀芯上体即可。实现了高效、省力、低成本的目的。
3)面向阀门密封件制造的材料、工艺改良设计通过现场调查研究发现,由于气动圆顶阀采用软密封型式,在早期损坏的阀门中,橡胶密封件的损坏,占有较大的比重,其早期损坏主要表现在以下几个方面:密封件在阀门放气后,不能完全复位,阀门在关闭过程中将密封件扯坏;密封件在温度高于120℃的环境下,易出现老化的现象,造成阀门早期损坏;密封件耐磨性不够,在介质的冲刷下,易磨损,造成早期损坏。为此,本项目根据粉煤灰气力输送系统的工况,对现有的密封件材料和制造工艺进行改良,经过改良的橡胶密封圈具有抗撕裂性强、弹性好、耐磨损、耐高温性(可耐温200℃)等良好的综合性能。
2 技术解决方案
1)结合数学建模与CFD技术进行阀门流道优化设计
项目研发的前期,在阀门结构设计阶段,首先基于拉格朗日坐标的欧拉一拉格朗日离散介质模型对气固二相流颗粒相进行建模,对不同流道和尺寸的阀门内气固二相流的流动状态和对阀体的磨损情况进行定量评估。继而,作为数学建模的验证和补充,采用CFD软件FLUENT进行大量数值模拟实验。合理的数学建模结合FLUENT进行流道内的数值模拟实验,可以获得优化的阀门流道设计方案,达到减少磨损,提高耐用度的目的。
2)基于阀芯分体式理念的阀门结构设计
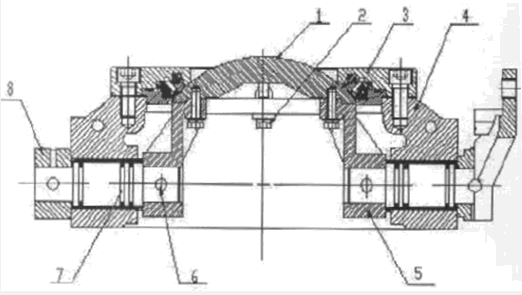
该阀门主要有阀体部件与气动执行器部件组成。气动圆顶阀的关断是由一个球形阀芯和一个充气的橡胶密封圈来实现的,阀芯是一个球面圆顶。气动执行元件为双作用直线气缸,通过转臂驱动圆顶阀阀芯转动。整体结构如图所示。

圆顶阀结构图
图中:1-阀芯上体,2-螺栓,3-上法兰,4-阀体,5-阀芯下体,6-弹性圆柱销,7-驱动轴,8-轴毂。
圆顶阀结构设计中融入了先进的产品设计理念,将原有的球面圆顶状阀芯分成阀芯上体1和阀芯下体5,分体处采用4只对称设置的螺栓固定连接,使之可拆卸。分体的阀芯整体形状不变,并与阀体4等相匹配。阀芯上体l和阀芯下体5之间具有互换性。经过改进以后,与原有技术相比,其优势在于:原有球面圆顶状的阀芯为整体结构,当阀芯的圆顶球面被高速固体物料流磨损需更换时,则必须将整个圆顶阀从输送管道上拆卸下来进行更换,由于圆顶阀是一成套产品,阀芯的更换势必导致其配套组件(包括阀芯、配件6、7、8)的一起更换。而将阀芯分成分体式后,更换时只需打开原有的上法兰,松开连接螺栓即能将阀芯上体分离出来,换上新的阀芯上体1即可,而且对维护人员的技术要求也不高,从而实现了省时省力省钱的目的。
3)采用二次硫化工艺,改良优化密封材料性能
密封圈是气动圆顶阀的关键部件。阀门无论在静态的工作条件下,还是动态的开关过程中,密封圈都会在一定程度上出现老化或磨损现象。因此,由于抗撕裂性、弹性、耐磨性、耐高温性等性能的不足,在早期损坏的阀门中,密封件的损坏,占有较大的比重。密封圈性能的提升,需要通过对密封圈材料和制造工艺的改进来实现。
由于阀门工作过程需要承受最高200度的高温,一般橡胶材料难以满足要求,综合考虑工作条件使用要求,产品采用氟橡胶(VITON)作为主要材料,并辅以其他特殊材料及工艺进行生产。氟橡胶具有很好的运动性能,同时具有很高的耐磨性和耐高温特性,是密封圈的理想材料。
针对密封圈的特定材料配方,改良并确定了最优的二次硫化工艺,制定了合适的加热温度序列以及相应的加热时间。实验表明,该工艺提高了橡胶密封圈的抗拉强度、延伸性、抗撕裂、抗压缩变形以及耐热性能(可耐温200℃),延长了使用寿命。
4)阀芯-密封圈无接触运动的自动控制设计
为了保证气动圆顶阀的正常工作,既能实现良好的密封性,又能减少阀芯与橡胶密封圈之间的不必要磨损,必须设计有效合理结构和装置来完成自动控制功能。
气动圆顶阀的关断是由一个球形阀芯和一个充气的橡胶密封圈来实现的,阀芯是一个球面圆顶,在开关过程中,阀芯与橡胶密封圈间保持有约0.4-0.6mm的间隙,使阀芯与橡胶密封圈可以以无接触的方式运动,目的是使阀芯与橡胶密封圈之间不产生摩擦,减少磨损。气动执行元件为双作用直线气缸,通过转臂驱动圆顶阀阀芯转动。当圆顶阀处于关闭状态时,橡胶密封圈充气,膨胀紧紧地压在球面圆顶阀芯上,从而形成一个非常可靠的密封环带,阻止了管道内物料的流动。
3 结论
本圆顶阀由于采用多项先进科技,各项性能指标在国内外处于领先水平,使用寿命大幅提高,减少了系统的使用维修及养护成本,极大地提高我国气力输送专用阀门的技术水平,减少了阀门配件的消耗,达到合理利用自然资源,减少能源消耗及“三废”排放的目的。项目的实施完全符合国家极力提倡的节能减排要求,为企业带来良好的经济效益、社会效益及环保效益。
摘自互联网